Descrizione del progetto
RTX PSK 23cm 1.2288 Mbps
per packet-radio


Autore: S53MV Matjaz Vidmar
Traduzione: IV3KCB Andrej Santin & IW3QTR Buongiorno Nicola
Rielaborazione HTML: IW3GRX Paolo Subiaco & IW3GRW Luca Subiaco


Documentazione tratta dalla rivista CQ ZRS numero 2, aprile 1996

1. Radio PSK semplificata per utilizzatori
2. Stazione radio PSK a frequenza intermedia nulla
3. Oscillatore a quarzo e catena dei moltiplicatori
4. Modulatore PSK 1270 MHz
5. Testa RF del rtx PSK 1270 MHz
6. Miscelatore in quadratura I/Q per 1270 MHz
7. Amplificatore I/Q a due canali con AGC comune
8. Demodulatore PSK I/Q di Costas
9. Commutazione RX/TX
10. Assemblaggio del rtx PSK 23cm


1. Radio PSK semplificata per utilizzatori

Nella rivista CQ ZRS 4/95 ho presentato la mia prima stazione radio PSK "megabit" per packet-radio nella banda di frequenza 13cm.
Le suddette stazioni 13cm si sono comportate bene durante l'inverno: nessuna rottura e nessuna caduta di linea, persino quando i collegamenti in 70cm e 23cm si erano interrotti a causa della neve e del ghiaccio sulle antenne.
Quando ci si abitua a stazioni migliori e con velocita' maggiori non c'e' piu' ritorno alle vecchie.

Il passo seguente piu' sensato e' naturalmente una packet-radio a "megabit" per gli utilizzatori; la suddetta stazione radio 13cm funziona in maniera ineccepibile, ma necessita di molto lavoro nel montaggio e molta conoscenza nell' "accordare", la qual cosa diventa praticamente impossibile per un normale utilizzatore.
Il fine di questo articolo e' quindi trovare una stazione radio piu' semplice che pero' mantenga le buone caratteristiche della modulazione PSK.

Una stazione radio PSK piu' semplice la possiamo fare con una modulazione diretta sul trasmettitore e con una diretta demodulazione nel ricevitore come e' schematizzato in figura 1.
Come modulatore PSK utilizziamo un moltiplicatore (mescolatore) direttamente sulla frequenza finale, come demodulatore PSK invece, usiamo un loop di Costas.
Una cosi' fatta stazione radio ha alcune parti del ricevitore e del trasmettitore in comune, ad esempio l'oscillatore a cristallo e la catena di moltiplicatori; quindi il progetto totale della stazione radio risulta semplificato.

La stazione radio 13cm PSK del numero CQ ZS 4/95 contiene gia' la modulazione diretta della frequenza finale del trasmettitore, solo il ricevitore ha una doppia miscelazione, due frequenze intermedie e molti accordi per frequenze intermedie.
In un tale ricevitore otteniamo la maggior parte dell'amplificazione alle frequenze intermedie, cosicche` il demodulatore funziona con segnali abbastanza grandi.

Al contrario otteniamo la maggior parte dell'amplificazione alle basse frequenze del ricevitore con una miscelazione diretta, dopo la demodulazione del segnale.
Il demodulatore (miscelatore) funziona con segnali molto deboli poiche' il ricevitore con la miscelazione diretta usa un amplificatore VF a basso rumore (LNA) con piccola amplificazione, il quale basta solo per coprire il rumore del miscelatore (demodulatore).

Se si conoscesse la frequenza esatta e la fase della portante del trasmettitore avrei bisogno di un ricevitore con la miscelazione diretta con un solo miscelatore per la demodulazione del PSK bifase (BPSK) del segnale.
Poiche' la frequenza reale del ricevitore risulta essere diversa abbiamo bisogno di un ciclo a controllo di errore che corregga prima la frequenza del ricevitore e alla fine sincronizzi la fase dell'oscillatore alla portante del trasmettitore.
Il dato sull'errore di fase che pilotera' il ciclo di ritorno lo possiamo ottenere con l'aiuto di un miscelatore il quale sara' sfasato di un quarto del periodo della portante (90 gradi) rispetto al demodulatore.

Nel ricevitore con miscelazione diretta lavorano entrambi i miscelatori del loop di Costas, il demodulatore del segnale e il demodulatore dell'errore di fase con segnali molto "bassi" dell'ordine dei microvolt.
Entrambi i segnali a bassa frequenza demodulati li dobbiamo amplificare includendo pure la componente unidirezionale.
Poiche' il problema dell'amplificazione della componente unidirezionale e' di difficile soluzione la componente unidirezionale viene eliminata o soppressa gia' nel trasmettitore con l'aiuto dello "scrambling" dei dati; questo compito viene svolto dall'elemento di sincronizzazione dei bit illustrato nel CQ ZRS 3/95.

I due amplificatori di segnale a bassa frequenza li indicheremo con l'accorciatura inglese I (In-phase) e Q (Quadrature).
Nella ricezione di segnali PSK digitali i due amplificatori possono essere molto semplici, infatti il segnale digitale a due livelli puu' essere limitato senza per questo avere alcuna distorsione.
Il segnale I in questo rappresenta proprio il segnale di uscita del ricevitore, il prodotto I per Q viene invece utilizzato per il pilotaggio del ciclo di ritorno di frequenza/fase.
Schema a blocchi RTX PSK
La realizzazione tecnica del suddetto ricevitore non e' proprio semplice.
Il ciclo di ritorno ha un'amplificazione molto forte (amplificatori I e Q), percio' puo' diventare instabile.
Quando spostiamo la stazione radio sulla trasmissione il ciclo viene interrotto affinche' l'oscillatore oscilli alla frequenza ben nota ed esatta. Il prototipo di questo ricevitore con miscelazione diretta funzionava bene, solo nel oscillatore a cristallo ho trovato un errore insormontabile.
L'oscillatore a cristallo non si lascia modulare in frequenza cosi' facilmente, la risposta ad una modulazione veloce risulta abbastanza distorta (la qual cosa ci e' gia' nota dalle vecchie prove in 23cm WBFM con modulazione diretta del cristallo), questo impedisce di fare un ciclo di ritorno abbastanza veloce.
Detto in altri termini questo ricevitore permetteva solo un piccolo errore sulla frequenza della portante (al limite +/- 2kHz) e il ciclo aveva bisogno di un paio di secondi prima di ritrovarsi.


2. Stazione radio PSK a frequenza intermedia nulla

Il ricevitore PSK puo' venir realizzato diversamente, ad esempio come ricevitore a frequenze intermedie zero.
Anche se il progetto di base di un tale ricevitore risulta molto piu' complicato di quanto e' schematizzato in figura 2 in realta' questo tipo di ricevitore e' molto simile sia come funzionamento che come difficolta' e realizzabilita' del circuito ad un ricevitore con miscelazione diretta.

Anche il ricevitore a frequenze intermedie nulle ha solo un'amplificazione bassa alle frequenze alte (LNA), seguito da un miscelatore a quadratura e un amplificatore a bassa frequenza I/Q.
La differenza sta nell'oscillatore che funziona nel ricevitore a frequenze intermedie nulle ad una frequenza fissa.
La frequenza dell'oscillatore dovrebbe essere piu' vicino possibile, ma non necessariamente esattamente, alla frequenza della portante del trasmettitore.
Il miscelatore a quadratura in questo caso ci produce i segnali I' e Q' che contengono si l'informazione complessiva del segnale in alta frequenza in ingresso, ma questo segnale non e' ancora demodulato.
Possiamo amplificare i segnali I' e Q' ottenuti solo in modo lineare, quindi l'amplificatore di bassa frequenza deve essere composto di una regolazione automatica efficace (ARO) che deve essere comune per entrambi i canali I' e Q'.

Alla fine della catena di amplificazione bisogna porsi naturalmente la domanda: cosa fare con i segnali I' e Q' , ovvero, come estrarre da essi i bit voluti?
La domanda risulterebbe sin troppo semplice se il nostro oscillatore fosse sincronizzato con il trasmettitore in questo caso I' rappresenterebbe direttamente i bit mentre il segnale Q' scomparirebbe.
In realta' le cose sono piu' tristi poiche' il nostro oscillatore non e' sincronizzato ne in fase ne in frequenza con l'oscillatore del trasmettitore.
L'errore di fase sta a significare che parte del segnale finisce con il ramo I e parte del segnale con il ramo Q.
Il nostro segnale desiderato lo possiamo ottenere indietro facendo una adeguata somma (risultante) indicizzata dei segnali I' e Q'.
L'errore in frequenza del nostro oscillatore significa anche questo, che il vettore del segnale ottenuto ruota con la differenza di frequenza del ricevitore e del trasmettitore.
Il demodulatore nel ricevitore deve quindi contenere un circuito che dai segnali I' e Q' possa costruire l'indice voluto e che lo sappia allo stesso tempo far ruotare alla velocita' giusta nel verso opposto.

Lo scopo della ricerca della sincronizzazione della portante e della rotazione nel verso opposto dell'indice sembra complicato, in realta' si tratta di frequenze tutto sommato basse (meno di 1 MHz) che possono essere "trattate" con circuiti integrati a basso costo.
L'intero demodulatore I/Q PSK Costas si puo' realizzare con pochi circuiti integrati della famiglia 74HCxx che non abbisognano di alcun "accordamento", ma funzionano subito appena li colleghiamo al circuito.

I vantaggi del ricevitore a frequenze intermedie nulle potrebbero essere usati anche nel ricevitore vocale SSB.
Le pecche maggiori dei ricevitori SSB con miscelazione diretta sono l'insufficiente attenuazione della banda laterale indesiderata e le specifiche severe per l'esattezza di alcune parti, soprattutto dei "tiranti" di fase a bassa frequenza.
Il ricevitore SSB a frequenze intermedie nulle necessita solamente di un circuito simile per la rotazione in verso opposto del'indice a bassa frequenza.
Schema a blocchi RTX PSK Zero-IF

La stazione radio PSK con frequenze intermedie nulle puo' essere molto semplice ma soprattutto non necessita di molto accordamento.
In una stazione radio ben progettata dobbiamo accordare solamente l'oscillatore che pilota il trasmettitore e il ricevitore.
Il circuito ad alta frequenza del ricevitore e del trasmettitore possono essere fatti con una realizzazione a tecnica a banda larga che non necessita di accordo, poiche' una siffatta stazione radio non conosce disturbi di frequenze "a specchio" o altri disturbi in frequenza.
Le frequenze intermedie nulle non necessitano pure di accordamento poiche' la selettivita' della stazione viene definita da semplici filtri passabasso.
Il demodulatore non necessita pure lui di accordamento poiche' e' realizzato con circuiti digitali.

I vantaggi descritti della stazione radio a frequenze intermedie nulle sono stati scoperte gia' da parecchio tempo da professionisti i quali le usano oggi.
Una stazione radio che non necessita di pezzi di assemblaggio ben definiti ne di accordamento porta a un abbassamento dei costi di produzione, cosicche` le stazioni con frequenze intermedie nulle vengono usate soprattutto per la trasmissione di dati: reti di computer con collegamento senza filo e la telefonia mobile digitale (ad esempio GSM).

In questo articolo si descrivera' percio' il tentativo di progetto di una stazione per un packet-radio amatoriale che necessita di poco accordamento.
Mi sono deciso per il range di frequenza 23cm perche' in questa zona di frequenza si possono montare i componenti su un circuito stampato di vitroplast FR4.
Il range di frequenza 23cm mi pare anche una scelta ragionevole per uso da parte degli utilizzatori della rete packet con velocita' dell'ordine dei megabit.


3. Oscillatore a quarzo e catena dei moltiplicatori

Il rtx PSK a conversione diretta o a media frequenza zero ha bisogno di un solo oscillatore sia per il trasmettitore che per il ricevitore. La stabilita' deve essere adeguata e bisogna stare attenti al rumore prodotto, perche' puo' influire sul funzionamento.

Nel rtx sia il modulatore che il ricevitore usano mixer in armonica, percio' sono pilotati con segnali dell'oscillatore a frequenza dimmezata. Per lavorare in banda 23cm (1.27 GHz) la frequenza dell'oscillatore e' 635 MHz.
Schema moltiplicatore a quarzo

Dal punto di vista dell'utente sarebbe preferibile un PLL sintetizzato per poter coprire l'intera banda 23cm. Nel rtx descritto ci sono due controindicazioni per usarlo. La prima e' che il modulatore PSK influirebbe sul VCO del PLL portando ad una indesiderata modulazione FM. La seconda e' che i PLL usano oscillatori quarzati in fondamentale che sono meno stabili di quelli in overtone.

Nel rtx descritto ho percio' optato per una soluzione collaudata: oscillatore in overtone seguito da una catena di moltiplicatori. Il circuito (figura 3) usa un oscillatore a 26.5 MHz e quattro moltiplicatori X3,X2,X2 e X2. L'induttanza da 1uH nell'emettitore dell'oscillatore assicura il funzionamento in overtone.

Il fattore finale di moltiplicazione e' 24 che diventa 48 tenendo conto dei mixer in armonica.
La maggior parte della banda 23cm puo' essere cosi' coperta con quarzi CB. Nel prototipo sono stati usati quarzi da 26.6015 MHz (sesta armonica della sottoportante colore TV) di migliore qualita' e stabilita' rispetto a quelli CB.

La prima moltiplicazione X3 viene effettuata dallo stesso transistor dell'oscillatore. Seguono tre stadi simili X2 che contemporaneamente amplificano il segnale a 16 mW (+12dBm) a 635 MHz. Il primo moltiplicatore X2 e' costituito dalle due bobine autoportanti L4 e L5, mentre gli altri due dalle bobine incise L6,L7,L8 e L9. L'oscillatore e il primo moltiplicatore sono alimentati dal diodo zener 8V2 per assicurare maggiore stabilita' e filtraggio del rumore. Un'ulteriore filtraggio viene fatto dai due elettrolitici da 100uF e l'impedenza da 120 uH.

L'oscillatore e relativi moltiplicatori sono montati su uno stampato monofaccia 40mm X 120mm (figura 4). Usando vetronite dell spessore di 0.8mm si abbassano ancora di piu' le induttanze parassite dei collegamenti tra componenti e piste. La disposizione dei componenti e' in figura 5.

La bobina L1 e' usata per l'esatta taratura della frequenza dell'oscillatore e puo' essere sostituita da un trimmer capacitivo se neccessario. Maggiore sara' questa correzione, maggiore sara' la dipendenza alla temperatura dell'oscillatore. Percio' consiglio per L1 un valore il piu' basso possibile: una bobina variabile da 1uH dovrebbe andare bene (7 spire di 0.15mm CuL su supporto 10.7 MHz centrale fisso e cappuccio in ferrite mobile 10mmX10mm).

Le bobine L2 e L3 hanno 150 uH e sono avvolte su supporti per medie frequenze TV 36 MHz con nucleo in ferrite mobile e cappuccio in plastica 10mmX10mm. L2 e L3 hanno 4 spire di 0.25mm CuL nella parte superiore del supporto. L4 e L5 sono bobine autoportanti 4 spire di 1mm CuL su diametro interno 4mm. L6, L7, L8 e L9 sono incise sullo stampato.

L'oscillatore e relativi moltiplicatori sono gli unici che richiedono una taratura: basta tararli per la massima potenza d'uscita. Ogni stadio bisogna tararlo in modo che sulla base del transistor seguente si ha un minimo di tensione che non deve superare -1V; questa tensione deve essere misurata tramite un'impedenza o un'opportuna resistenza per evitare di influire sul funzionamento. In fine si esegue la taratura sull'esatta frequenza di lavoro.
Master moltiplicatore a quarzo
Layout moltiplicatore a quarzo


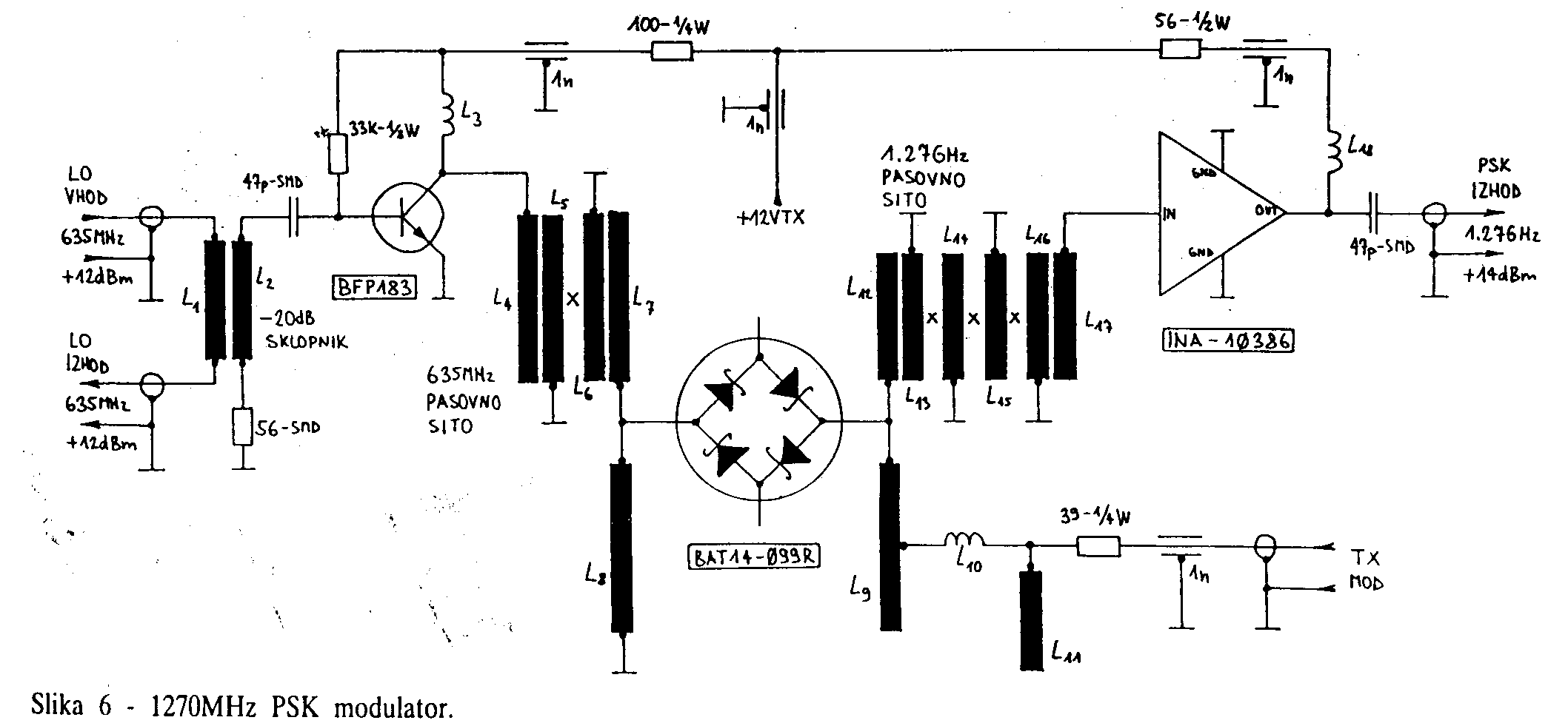
4. Modulatore PSK 1270 MHz

Lo schema del modulatore PSK 1270 MHz e' in figura 6. Oltre al modulatore - mixer ci sono anche l'accoppiatore direzionale, l'amplificatore dei 635 MHz, i filtri passa banda 635 MHz e 1270 MHz oltre l'amplificatore del segnale PSK a 25 mW (+14dBm). Tutti i filtri sono realizzati in tecnica microstrip su vetronite FR4 0.8mm doppia faccia.

L'oscillatore e' collegato contemporaneamente al modulatore e al ricevitore. Sulla scheda del modulatore e' presente un accoppiatore direzionale (L1) che fa passare la maggior parte del segnale proveniente dall'oscillatore verso i due mixer del ricevitore. Il questo modo i due mixer ricevono sempre il segnale dell'oscillatore locale e percio' la commutazione trasmissione/ricezione puo' essere molto veloce.

Una piccola parte della potenza (1% circa) viene prelevata dall'accoppiatore direzionale L1/L2 e' mandata al transistor amplificatore BFP183. Il guadagno e' fissato a 20 dB il che corrisponde all'attenuazione dell'accoppiatore. A prima vista puo' sembrare una soluzione complicata. In realta' questo sistema richiede un solo elemento attivo (transistor BPF183) il resto e' realizzato con le bobine incise sullo stampato. Schema modulatore PSK Master modulatore PSK Layout modulatore PSK

Il filtro passa banda all'uscita del BFP183 (L4, L5, L6 e L7) ha una banda passante di 50 MHz circa e serve ad attenuare la seconda armonica che si genera nel transistor BFP183 a 1.27 GHz. Questa provocherebbe una distorsione e asimmetria della modulazione PSK.

Per il modulatore ho usato un mixer in armonica (viene modulata la portante a 635 MHz e successivamente lasciata passare solo l'armonica a 1270 MHz), perche' con questo circuito si raggiunge una buona simmetria ovvero una buona attenuazione della portante (30dB circa) senza complicate tarature con costosa strumentazione (analizzatore di spettro). Il mixer in armonica usa quattro diodi schottky BAT14-099R che sono gia' collegati a ponte all'interno del corpo SMD; sebbene basterebbero solo due diodi in anti parallelo, quattro diodi danno un segnale con piu' potenza all'uscita.

All'uscita del mixer c'e' un filtro passa banda per 1270 MHz (L12, L13, L14 e L15) che elimina il residuo dei 635 MHz e altri prodotti indesiderati. Il segnale cosi' modulato in PSK non ha bisogno di altri filtri.

Essendo la potenza del modulatore molto bassa dopo il filtro (0.2mW circa) bisogna amplificarlo con il circuito integrato INA-10386 a 25mW circa (+14dBm). L'amplificazione dell'integrato e' in questo caso un po' troppo alta e lavora quasi al limite della saturazione.

Lo stampato del modulatore misura 40mm X 120mm (figura 7, disposizione componenti figura 8). Una faccia non e' incisa, ma fa da piano di massa per i microstrip. Usando vetronite da 0.8mm FR4 le perdite RF a 1.3 GHz sono piuttosto grandi.

Le uniche bobine che bisogna avvolgere sono le impedenze da un quarto d'onda L3, L10 e L18 fatto con filo 0.25mm CuL. L3 e' un quarto d'onda per 635 MHz (12cm), L18 per 1270 MHz (7cm), L10 una via di mezzo per attenuarle entrambe (9cm). I due capi vanno stagnati per 5mm e il resto del filo smaltato va avvolto su un diametro interno da 1mm (bobine autoportanti).

Durante la costruzione bisogna fare attenzione ai collegamenti di massa dei risuonatori microstrip, della resistenza da 56 ohm, dell'accoppiatore direzionale, dei due emettitori del BFP183 e del amplificatore INA-10386. I risuonatori microstrip vengono messi a massa con filo argentato da 0.6mm (centrale del cavo RG-214) nei fori da 1mm nei punti indicati saldandoli per bene. La resistenza da 56 ohm e i due elementi attivi sono messi a massa con fori da 3.2mm chiusi da una parte con un pezzetto di foglio di rame e riempiti con stagno fino a raggiungere il contatto della resistenza SMD o del semiconduttore.

Anche il modulatore non ha bisogno di nessuna taratura se tutti gli elementi sono messi a massa in modo corretto. All'uscita bisogna misurare i 25 mW con un corretto pilotaggio dal oscillatore locale e dal segnale modulante. Il livello d'uscita e' poco sensibile alle variazioni del trimmer nell'unita' di commutazione grazie alla riserva di amplificazione del INA-10386.


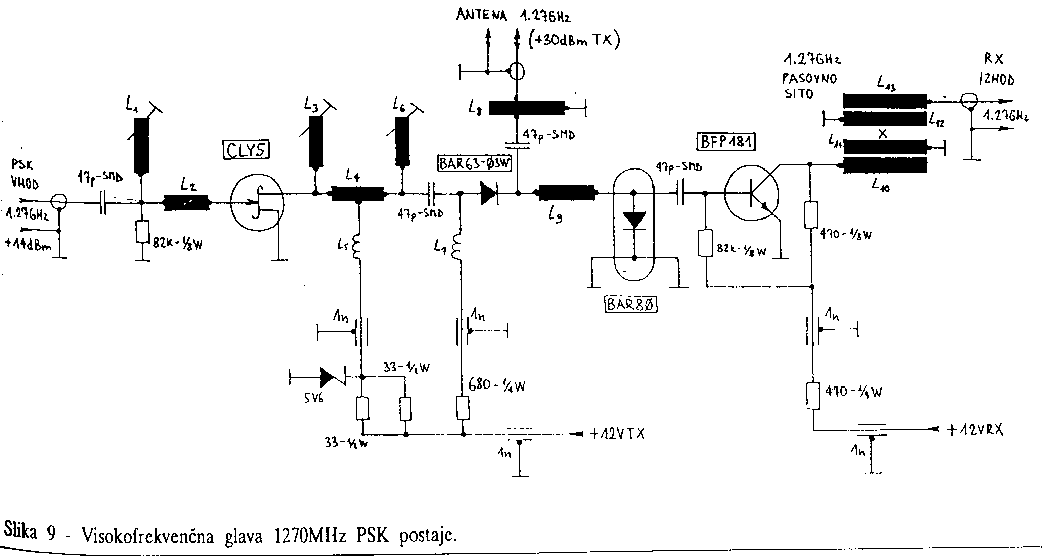
5. Testa RF del rtx PSK 1270 MHz

Lo schema e' visibile nella figura 9. L'unita' contiene l'amplificatore di potenza del trasmettitore, il preamplificatore con il filtro RF passa banda del ricevitore e il commutatore d'antenna a diodi PIN. Anche questa unita' e' costruita in tecnica microstrip su vetronite doppia faccia FR4 da 0.8mm.
Schema testa RF (finale + preamplificatore + commutazione)

Nell'amplificatore di potenza del trasmettitore e' utilizzato un solo transistor GaAs CLY5, con 16 dB di guadagno e 1W (+30dBm) di potenza d'uscita. Nel vecchio rtx WBFM 23cm ci volevano ben tre stadi amplificatori per raggiungere la stessa potenza. Il transistor CLY5 lavora a bassa tensione 5.5V e la tensione negativa sul gate se la genera da solo rettificando il segnale d'ingresso.

Il commutatore d'antenna e' costruito con due diversi diodi PIN BAR63-03W e BAR80. I due diodi sono molto simili, l'unica differenza e' nel corpo. BAR63-03W e' costruito in modo da avere una bassa capacita' parassita e viene usato come interruttore RF in serie. Al contrario il diodo BAR80 ha una bassa induttanza parassita e viene usato come interruttore RF parallelo (diodo "shunt"). Il commutatore e' realizzato cosi' che in trasmissione siano chiusi entrambi gli interruttori. La linea da un quarto d'onda L9 serve per far vedere al trasmettitore il corto circuito del diodo BAR80 come un circuito aperto.
Master testa RF (finale + preamplificatore + commutazione)
Layout testa RF (finale + preamplificatore + commutazione)

Il preamplificatore usa un transistor BFP181 che dovrebbe avere una cifra di rumore attorno ai 2dB e un guadagno di 15dB senza particolari tarature. Il filtro passa banda (L10, L11, L12 e L13) deve attenuare i disturbi dei trasmettitori di potenza fuori banda per evitare il rivelamento diretto di modulazioni in ampiezza ovvero per evitare prodotti indesiderati nel mixer in quadratura. La banda passante e' di 100 MHz circa e le perdite sono di 3dB circa usando vetronite FR4.

Lo stampato della testa RF in vetronite FR4 da 0.8mm misura 40mm X 80mm (figura 10, disposizione componenti figura 11). Una faccia non e' incisa e fa da piano di massa per i microstrip.

Le uniche due bobine non incise sono impedenze ad un quarto d'onda a 1270 MHz L5 e L7 fatte con filo 0.25mm CuL di 7cm. I due capi vanno stagnati per 5mm e il resto del filo smaltato va avvolto su un diametro interno da 1mm (bobine autoportanti).

Anche qui bisogna fare attenzione ai collegamenti di massa dei risuonatori microstrip e dei semiconduttori CLY5, BAR80 e BPF181. I primi vengono messi a massa con filo argentato da 0.6mm mentre i secondi con goccie di stagno come nel modulatore. I due source del transistor CLY5 oltre al collegamento a massa servono anche per dissipare il calore prodotto. Percio' sull'altra faccia dello stampato bisogna saldare un foglio di ottone 15mm X 15mm X 0.5mm e riempire di stagno i due fori da 3.2mm e 5mm. Il diodo BAR80 va a massa tramite un foro da 2.5mm e il transistor BFP191 tramite uno da 3.2mm.

Se correttamente montato l'amplificatore di potenza eroga almeno 800mW che diventa 1W con la taratura di L1, L3 e L6. La parte ricevente e il commutatore d'antenna non richiedono nessuna taratura.


6. Mixer in quadratura I/Q per 1270 MHz

La progettazione del miscelatore per un ricevitore a conversione diretta o a media frequenza zero si differenzia un po' dai soliti mixer. Il ricevitore con media frequenza molto bassa e' molto sensibile al rumore dell'oscillatore locale come anche al rivelamento diretto di modulazioni in ampiezza indesiderate.

Per contro in questo tipo di ricevitori non ci sono problemi di frequenze immagine e altri prodotti indesiderati. Per questo non hanno bisogno di grande selettivita' nella parte RF. I filtri passa banda servono solo ad attenuare forti segnali ma relativamente lontani in frequenza.

Lo schema del mixer in quadratura e' in figura 12. E' costituito da due filtri passa banda a 1270 MHz, un amplificatore a RF con circuito integrato INA-03184, due mixer in armonica identici sfasati di 90 gradi con relativi preamplificatori con transistors BF199. Anche questa unita' e' costruita su vetronite FR4 da 0.8mm. I due filtri sono gli stessi usati nella testa a RF con 100 MHz di banda passante e 3dB di perdita. Per coprire la cifra di rumore dei mixer e le perdite dei filtri servirebbero 20dB di guadagno. Il guadagno del circuito INA-03184 e' abbastanza alto (25dB), ma con il transistor piu' economico BFP181 era troppo basso (15dB).
Schema mixer in quadratura

Il mixer in quadratura e' composto da due mixer in armonica, dello stesso tipo usato nel modulatore. Questi si sono dimostrati validi per piu' ragioni. La prima che attenua molto bene il rumore dell'oscillatore locale e di eventuali segnali RF all'ingresso grazie al collegamento simmetrico dei diodi. La seconda e' che usando il segnale dell'oscillatore locale dimmezzato si hanno meno problemi nella schermatura delle varie unita'. La terza e' che si ha una totale compatibilita' con il mixer del modulatore.

Il mixer in quadratura deve avere due mixer identici che funzionano con segnali sfasati di 90 gradi. I partitori devono essere progettati in modo che mantengano lo sfasamento a 90 gradi indipendentemente dall'impedenza dei diodi che cambia con l'ampiezza del segnale dell'oscillatore locale.

In questo caso i due mixer vengono pilotati con lo stesso segnale dall'oscillatore locale e lo sfasamento viene effettuato sull'ingresso del segnale RF (L9, L10, L11 e L12). I due partitori contengono delle resistenze per assicurare la simmetria e lo sfasamento indipendentemente dall'impedenza dei diodi. Questo tipo di circuito assicura senza alcuna taratura una simmetria migliore del 5% e un errore di fase minore di 5 gradi.

Dopo i mixer seguono i preamplificatori di media frequenza con i BF199. Questi sono montati su questa unita' per evitare disturbi e rumore, ma vengono alimentati dall'unita' seguente.

Lo stampato del mixer in quadratura in vetronite FR4 da 0.8mm misura 40mm X 120mm (figura 13, disposizione componenti figura 14). Una faccia non e' incisa e fa da piano di massa per i microstrip.

Le uniche bobine non incise sono le impedenze ad un quarto d'onda L15, L16, fatte con filo 0.25mm CuL di 9cm : i due capi vanno stagnati per 5mm e il resto del filo smaltato va avvolto su un diametro interno da 1mm (bobine autoportanti). Inoltre L19 e L20 , al contrario di quanto e` riportato negli schemi, devono essere due impedenze da 47uH (modifica per avere migliore selettivita`!!) .

Durante la costruzione bisogna fare attenzione ai collegamenti di massa dei risuonatori microstrip, della resistenza 56 ohm e del amplificatore INA-03184. I risuonatori microstrip vengono messi a massa con filo argentato da 0.6mm (centrale del cavo RG-214) nei fori da 1mm nei punti indicati saldandoli per bene. La resistenza da 56 ohm e l'amplificatore sono messi a massa con fori da 3.2mm chiusi da una parte con un pezzetto di foglio di rame e riempiti con stagno fino a raggiungere il contatto della resistenza SMD o del semiconduttore.

Anche qui non c'e' bisogno di nessuna taratura. La simmetria e lo sfasamento si puo' controllare con un oscilloscopio a due canali. Basta portare all'ingresso un segnale non modulato a 1.27GHz e provvedere all'alimentazione dei BF199 all'uscita. Il rtx PSK funziona correttamente fino ad una differenza di ampiezza tra i canali del 10% e uno sfasamento massimo di 10 gradi. Maggiori differenze sono imputabili a componenti difettosi e non sono migliorabili con la sola taratura.
Master mixer in quadratura
Layout mixer in quadratura


7. Amplificatore I/Q a due canali con AGC comune

L'idea base dei ricevitori a conversione diretta o a media frequenza zero e' che la maggior parte dell'amplificazione avviene in bassa frequenza con amplificatori semplici, economici e che non richiedono taratura. Anche la selettivita' dipende da semplici filtri passa basso che non richiedono taratura. Percio' la progettazione di tali amplificatori e diversa dai soliti per media frequenza.

Il ricevitore a media frequenza zero ha due amplificatori che amplificano separatamente il segnale I e Q prima della demodulazione. Per assicurare lo stesso rapporto tra i due segnali i due amplificatori devono avere in comune il controllo automatico del guadagno.
Schema amplificatore I/Q con AGC

La banda passante deve andare da zero fino alla massima frequenza del segnale da demodulare. Per evitare di dover avere a che fare con la componente continua si usano diversi sistemi. Nel caso di trasmissioni digitali (BPSK o QPSK) i dati vengono mandati ad uno scrambler che assicura che lo spettro in frequenza sia il piu' uniforme possibile.

Nel caso di un ricevitore BPSK a 1.2Mbps i due canali I e Q dovrebbero avere una banda passante da zero fino a meta' velocita' dei dati (600KHz). In un ricevitore reale per evitare una distorsione troppo grande e' preferibile portarla a 800KHz-1MHz. Aumentando la banda passante pero' aumenta anche il rumore termico ricevuto.
Master amplificatore I/Q con AGC
Layout amplificatore I/Q con AGC

Quanto spostare il limite inferiore dipende da quanta distorsione e' ancora tollerabile nonstante lo scrambler nel trasmettitore. Se questo ci assicura uno spettro constante la distorsione sara' proporzionale alla potenza del segnale filtrato nella parte inferiore. Alla velocita' dei dati a 1.2Mbps e fissando il limite inferiore a 1KHz si ha un'ulteriore distorsione del 4% sull'ampiezza degli impulsi.

Lo schema del doppio amplificatore e' in figura 15. I due filtri passa basso si trovano subito all'inizio prima dei tre stadi d'amplificazione. Ogni stadio ha una sua propria regolazione automatica del guadagno indipendente. All'uscita ci sono due invertitori di fase per pilotare il demodulatore con quattro segnali +I, +Q, -I e -Q.

I due filtri passa passo all'ingresso sono in configurazione a PI greco con due condensatori e l'impedenza da 220 uH. Il primo condensatore ha un valore un po' basso perche' bisogna tenere in conto la capacita' dell'uscita del preamplificatore del mixer in quadratura e la capacita' del cavetto schermato di collegamento. Le due resistenze di carico da 1.5Kohm servono per alimentare i due preamplificatori.

Nella progettazione degli stadi amplificatori con AGC bisogna trovare un compromesso tra il limite inferiore della banda passante (possibilmente meno di 1KHz) e la velocita' di risposta agli impulsi del CAG minore di 1mS per avere veloci commutazioni tra trasmissione e ricezione e viceversa.

Questo e' possibile solo limitando il guadagno della retroazione di tutti gli stadi. Ecco perche' non e' possibile avere un AGC unico per tutta la catena d'amplificazione. Ogni stadio amplificatore dovra' percio' avere un suo AGC cosi' il limite inferiore della banda passante restera' a 1Khz e la velocita' di risposta a 1mS.

Ogni stadio amplificatore e' realizzato con transistor BF199 che raggiungono tranquillamente alcuni MHz di banda passante. Ogni transistor ha all'uscita un inseguitore d'emettitore per evitare che gli stadi si influenzino tra di loro. Essendoci due canali identici ci sono sei stadi amplificatori.

Il controllo automatico del guadagno viene realizzato usando transistor MOS come resistenze variabili all'ingresso dell'amplificatore. La simmetria tra i due canali I e Q viene assicurata usando transistor MOS dello stesso circuito integrato 4049UB. In questo caso il circuito integrato CMOS 4049UB viene usato in modo inusuale. La restante parte del 4049UB si comporta come dei diodi che non influenzano il funzionamento del CAG.

La tensione di pilotaggio del AGC viene ottenuta tramite i diodi rettificatori 1N4148. Sono collegati in modo che la tensione del CAG dipende dal canale I o Q che ha l'ampiezza maggiore. Il rapporto tra I e Q e' percio' assicurato gia' che i transistor MOS dello stesso circuito integrato 4049UB sono uguali.

Lo stampato del amplificatore I/Q e' in vetronite da 1.6mm (figura 16, disposizione componenti figura 17). Non essendoci elementi da tarare anche in questo caso bisogna fare attenzione ai componenti montati. Le resistenze devono essere al 5% di tolleranza, invece i condensatori devono essere a film al 10% (sicuramente non ceramici!). I transistor possono essere comuni perche' nella maggior parte dei casi le tolleranze si annullano tra di loro.

Per verificare il funzionamento, prima di tutto si devono controllare le tensioni continue. Poi proviamo a mandare un segnale all'ingresso I o Q separatamente per controllare se funziona il CAG. In fine si deve provare la simmetria con entrambi i segnali I e Q per diversi valori d'ampiezza.


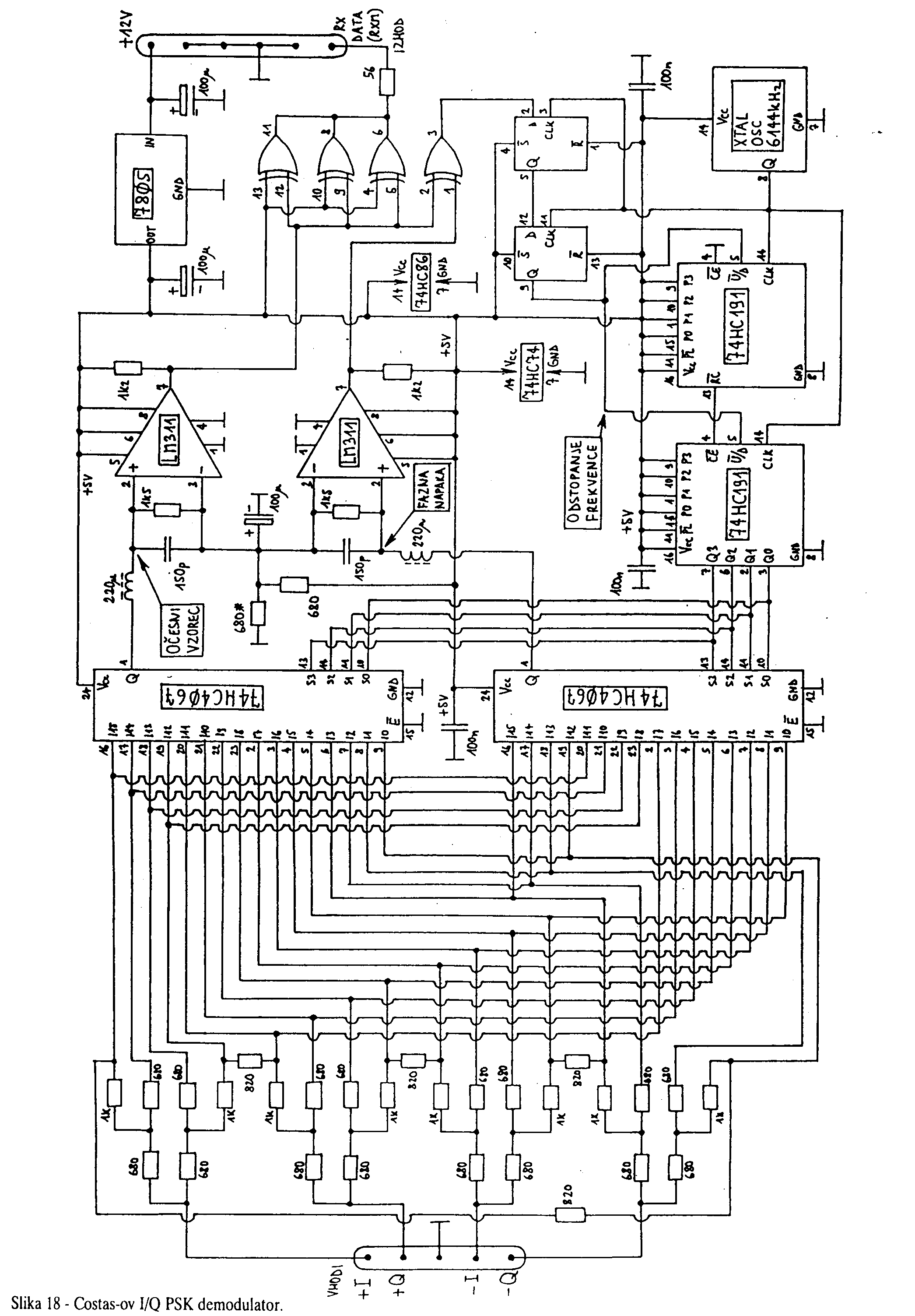
8. Demodulatore PSK I/Q di Costas

I due segnali a bassa frequenza I e Q, piu' precisamente I' e Q' contengono tutta l'informazione del segnale RF, ma non sono ancora demodulati. Da un segnale bifase PSK (BPSK) ricaviamo l'informazione con un'opportuna somma pesata dei due segnali I' e Q'. Nel caso di differenza tra frequenza di trasmissione e quella di ricezione la pesatura varia periodicamente in sincrono con la differenza delle due frequenze.

Nel demodulatore avremo bisogno di due moltiplicatori con relativi circuiti realizzati con una manciata di circuiti integrati economici. Se pero' studiamo piu' a fondo il problema troviamo una soluzione molto piu' semplice. A causa della differenza di frequenza il vettore della somma ruota, percio' nel demodulatore basta ruotarlo alla stessa velocita' nella direzione opposta.

Una soluzione pratica puo' essere la seguente: dai segnali I' e Q' creiamo un sistema multifase con piu' fasi. Questo si puo' fare semplicemente con una rete di resistenze. Con un commutatore analogico CMOS scegliamo quella fase che corrisponde al segnale ricevuto. L'errore massimo che possiamo prevedere su 16 fasi e' di 11.25 gradi. Questo corrisponde ad un peggioramento del rapporto segnale/rumore di 0.017dB al massimo!

Lo schema di questo demodulatore PSK e' in figura 18. Dall'amplificatore I/Q riceviamo un segnale con quattro fasi +I, +Q, -I e -Q che pilotano il partitore resistivo composto da 28 resistenze. Dal partitore si possono ricavare 16 diverse fasi che vanno al commutatore elettronico 74HC4067. Al commutatore segue un filtro passa basso per eliminare i picchi prodotti dalle commutazioni. Il segnale demodulato viene portato a livelli logici TTL dal comparatore LM311 e poi ancora a porte logiche 74HC. In questo modo l'uscita RX DATA (RXM) puo' pilotare il sincronizzatore dei bit (descrambler) anche con uno lungo spezzone di cavo coassiale da 75 ohm.

Il commutatore deve essere opportunamente pilotato, piu' precisamente bisogna farlo girare con la differenza delle frequenze. La differenza delle due frequenze la otteniamo con l'anello di Costas. L'altro commutatore 74HC4067 e' identico al primo con la differenza che ha uno sfasamento di 90 gradi ovvero uno spostamento di quattro fasi consecutive in un sistema a 16 fasi.

L'uscita del secondo demodulatore in quadratura e' proporzionale all'errore di fase. Se lo moltiplichiamo con il vero segnale demodulato otteniamo il segnale per pilotare il VCO dell'anello ad aggancio di fase. In base alla differenza di frequenza bisogna girare il commutatore avanti o indietro. Percio' il VCO deve generare una frequenza positiva o negativa.

La soluzione piu' semplice per realizzare un VCO digitale e' con due contatori 74HC191 che possono contare avanti o indietro con un clock di 6144KHz. L'ingresso del VCO e' proprio il segnale avanti/indietro (up/down). Se e' a livello logico basso i due commutatori 74HC4067 girano in avanti ad una frequenza di 24KHz. Al contrario se e' a livello logico alto i due commutatori girano indietro a 24KHz.
Schema loop di Costas

Se l'ingresso avanti/indietro cambia lo stato logico i due commutatori girano ad una frequenza che e' la media degli zeri e uni all'ingresso. Se il rapporto e' uno a uno allora i commutatori sono fermi. Il circuito appena descritto si comporta come un VCO che oscilla da -24KHz a +24KHz.

Essendo l'ingresso del VCO digitale, il prodotto tra l'errore di fase e il segnale demodulato viene effettuato direttamente da una porta logica EXOR (piedini 1,2 e 3 del 74HC86). Il segnale viene poi ripulito da due D flip-flop (74HC74) per evitare che i contatori 74HC191 vadano in uno stato instabile. Il tutto si comporta come un PLL di primo ordine senza il filtro passa basso nella retroazione.

Per essere piu' realisti questo demodulatore puo' correggere una differenza di frequenza di +/-15KHz, essendo +/-24KHz un valore teorico in assenza di rumore. Un clock maggiore aumenterebbe l'area di aggancio, ma aumenta il guadagno dell'anello di Costas e' percio' la sensibilita' al rumore. Il circuito e' stato provato con successo fino ad un clock di 20 MHz.
Master loop di Costas
Layout loop di Costas

Lo stampato del demodulatore PSK I/Q Costas e' in vetronite da 1.6mm e misura 60mm X 120mm (figura 19, disposizione componenti figura 20). Per l'alimentazione dei circuiti digitali a +5V e' usato un regolatore 7805 che per dissipare meglio viene fissato in orizzontale allo stampato.

I commutatori CMOS producono disturbi durante la commutazione che si vedono come brevissimi istanti di corto circuito verso massa. Nella famiglia 74HC40xx questi distrubi sono minori che nelle vecchie 40xx.

Per questo consiglio di usare gli integrati 74HC4067 al posto degli 4067 che si sono rivelati meno indicati. Se proprio non se ne puo' fare a meno consiglio di sostituire la resistenza da 680 ohm ("*") con una da 100 ohm circa.

Anche il demodulatore non richiede taratura. Per controllare il funzionamento vengono utili alcuni punti di controllo. Possiamo controllare il diagramma ad occhio e l'errore di fase attraverso l'uso dell'oscilloscopio la cui base dei tempi e' sincronizzata dall'unita' di sincronizzazione dei bit. L'occhio deve risultare ben aperto e l'ampiezza dell'errore di fase deve risultare piu' di tre volte (precisamente 1/sin(22.5gradi)) minore dell'ampiezza dell'occhio.

In fine si puo' misurare la differenza di frequenza del ricevitore misurando la tensione media all'ingresso avanti/indietro dei contatori 74HC191. L'oscillatore puo' essere tarato misurando all'ingresso 2.5V con un voltmetro analogico mentre si sta ricevendo un segnale PSK modulato.


9. Commutazione RX/TX

Lo schema del commutatore dell'alimentazione RX/TX e alcuni altri circuiti e' mostrato in figura 21 ed e' lo stesso usato per il rtx PSK 13cm. La maggior parte dei circuiti del ricevitore e' sempre alimentata a +12V. Il commutatore percio' serve solo ad alimentare i circuiti del trasmettitore (+12VTX) e a toglierla agli preamplificatori RF del ricevitore (+12VRX). Il tutto viene effettuato con un circuito integrato CMOS 4049UB con l'aggiunta di un transistor PNP di potenza BD139 per poter alimentare il trasmettitore con una maggiore corrente.
Schema commutatore

Il commutatore viene pilotato dal segnale PTT che come al solito viene messo a massa quando attivo. Il commutatore d'antenna con i diodi PIN viene pilotato semplicemente dal segnale +12VTX.

Il rtx con il ricevitore a media frequenza zero e il demodulatore PSK I/Q Costas e' in grado di demodulare anche il segnale del proprio trasmettitore. Questo puo' essere sfruttato per controllare il funzionamento del intero rtx.

L'unita di commutazione ha anche il circuito di pilotaggio del modulatore PSK. Il segnale d'ingresso TTL viene amplificato dal circuito integrato 74HC125 e mandato ad un filtro passa basso tramite un trimmer resistivo. L'ampiezza della modulazione viene tarata per la massima potenza del trasmettitore.

L'integrato 74HC125 viene alimentato anche in ricezione, ma viene inibito tramite gli opportuni ingressi. Le due resistenze da 1.8Kohm servono per tenere il condensatore al tantalio da 33 uF sempre caricato a 2.5V per migliorare la velocita' di commuttazione in trasmissione.

Lo stampato del circuito di commutazione e' in vetronite 30mm X 80mm da 1.6mm (figura 22, disposizione componenti figura 23). Essendo prevvisto il suo montaggio su pannello frontale del rtx ci sono anche i due diodi LED RX e TX.
Master commutatore
Layout commutatore


10. Assemblaggio del rtx PSK 23cm

Disposizione schede

La costruzione del rtx PSK 23cm e' molto simile a quello per i 13cm. Le varie' unita' sono montate in una scatola d'alluminio e schermate da telai in lamierino d'ottone.

Le misure della scatola sono 320mm (larghezza) X 175mm (profondita') X 32mm (altezza). La disposizione delle unita' e i vari collegamenti sono mostrati in figura 24. La scatola d'alluminio e' composta da due "U" da 1mm per il fondo e i pannelli frontali e posteriori, e da 0.6mm il restante "U" la cui profondita' e' di 190mm per avere due sporgenze da 7.5mm (anteriore e posteriore).

Solo quattro unita' RF sono schermate con lamierino d'ottone da 0.5mm e i vari circuiti stampati sono stagnati in un telaio e poi chiusi con un coperchio come si vede in figura 25. Ogni telaio viene poi fissato con viti autofilettanti alla scatola d'alluminio. L'altezza della scatola e' stata cosi' scelta da premere sui coperchi delle varie unita' in modo che non servono altri fissaggi.
Dimensioni telai per schermatura

L'alimentazione alle varie unita' viene portata tramite condensatori passanti da 1 nF. Il cablaggio dei segnali viene fatto con cavetti schermati tipo RG-188 o simili avendo cura di saldare bene lo schermo ai telai d'ottone. L'unica lunghezza da rispettare e' quella del cavetto che collega l'uscita del modulatore con l'ingresso del amplificatore che deve essere di 12cm (misurati da un lato del telaio all'altro). I cavetti dei segnali I e Q devono avere sempre la stessa lunghezza !

Il rtx contiene diversi elementi SMD. Se pe le resistenze SMD non ci sono problemi perche' utilizzabili fino a 10GHz, questo non vale per i condensatori SMD a piu' strati che non sono adatti per alta frequenza. Per questo mi sono limitato ad usare solo valore per i SMD da 47pF. Al posto dei condensatori SMD al tantalio da 4.7uF si posso usare anche i classici a goccia.

In figura 26 sono mostrati i vari elementi SMD utilizzati. Particolare attenzione bisogna avere per le sigle degli elementi a semiconduttore che per mancanza di spazio sono diverse.
Componenti SMD


Per una perfetta schermatura viene descritto il modo ottimale con cui inscatolare i moduli.
Un sistema molto piu comodo e che consente di ottenere comunque una ottima schermatura viene proposto nell'immagine sotto riportata.
Si viene pertanto a costuire un unico blocco contenente tutte le schede ad eccezione del commutatore, facile da fissare (attraverso 6 viti metriche).
Fra il telaio cosi creato e il coperchio della scatola e bene inserire un foglio di alluminio con della gomma spugna affinche si realizzi un buon contatto elettrico con il telaio, evitando quindi che vi siano delle aperture che consenta il propagarsi delle onde elettromagnetiche fra i diversi stadi.
In assenza della copertura la radio potra' risultare notevolmente desensibilizzata.
Immagine della radio completa